近期关于折叠屏设备的热度一直很高,很多人认为5G和折叠屏设备更搭配。自三星和华为公开自家折叠屏手机后,很多厂商也都开始研发自家折叠屏手机。今天笔者就给大家汇总一下最近的折叠屏专利:如果对于专利问题有任何疑问,欢迎前来咨询,我们可以为您提供专业的指导性意见。欢迎关注一品慧诚专利申请网

5月份据外媒CNN报道Apple已经获得了可折叠屏幕的专利,该屏幕可用于iPhone和其他设备。其描述了一种具有柔性或可弯曲的显示器和盖子的电子设备。

联想也提交了折叠PC新专利,通过引入一个薄的外部蓝牙键盘,努力解决触摸键盘上糟糕的打字体验,它可以用于可折叠电子设备。


继联想后,有媒体报道微软已经向内部展示可折叠Surface,随后专利被曝光。微软在2017年提交了名为“可移动显示支持、使用相同的计算设备和方法”专利申请。与可折叠设备的其他专利不同,微软新专利专注于显示技术。

荷兰科技博客 LetsGoDigital报道,WIPO(世界知识产权局)于2019年5月31日批准了华为名为“可折叠移动设备”的专利。显示屏位于专利智能手机的外部。与Mate X相比,此设备不仅可以折叠1次,还可以折叠2次。华为还为侧栏设计了一种替代方案。该装置有两个铰链,它们安装在外壳的两侧。折叠时,铰链的形状为柔性显示器提供额外的支撑。

2018年7月(Galaxy Fold公布之前),华为技术公司还向WIPO全球设计数据库提交了外观设计专利。该专利于2019年6月18日发布,展示了一款可折叠的手机,设备可以向内折叠。此外,还增加了第二个前屏幕,使设计看起来非常类似于折叠。外观设计专利包括八幅图纸。这次没有简单的草图,华为已经为专利添加了3D渲染。这似乎表明华为确实正在开发这种设备。

Letsgodigital还报道了三星一款可拉伸的屏幕设计专利,延伸之后的确切尺寸目前仍不清楚。letsgodigital表示,从设计图来看,它看起来比21:9更宽,但是要比32:9略窄。此项是设计专利,很遗憾没有关于可伸展屏幕的操作的细节。

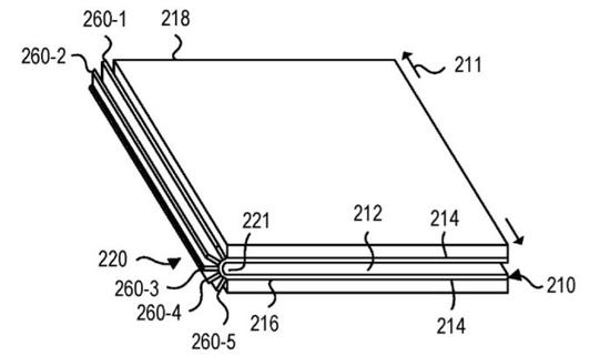
最近的折叠屏专利是谷歌在2018年底的时候,向世界知识产权组织(WIPO)提交了一项名为“具有多页的可折叠显示设备”专利,并于 2019 年 6 月 27 日正式向外界公布,这款设备的外形可以像传统书籍一样翻页打开。专利显示,该设备通过“书脊”将多个OLED屏幕组合起来,“封面”装有电池、处理器、相机等,其显示面板位于设备内部,显示面板两侧(正面和背面)可显示内容,并可通过“翻页”的方式将屏幕放置在外。